Τα σημερινά αυτοκίνητα είναι εξαιρετικά προηγμένα και έχουν αλλάξει δραματικά σε σχέση με το παρελθόν και όσα γνωρίζαμε ακόμη και πριν μία δεκαετία. Παρόλα αυτά όμως, υπάρχουν και κάποια εξαρτήματα τα οποία είναι ακόμη και σήμερα παρόντα και μάλιστα σχεδόν στην αρχική τους μορφή.
Ένα από αυτά είναι και οι υαλοκαθαριστήρες. Πρόκειται για μία εφεύρεση, η οποία έγινε από την Αμερικανίδα Mary Elizabeth Anderson με την πατέντα της να έχει καταχωρηθεί στις 10 Νοεμβρίου το 1903. Από τότε μέχρι σήμερα οι υαλοκαθαριστήρες προφανώς και έχουν εξελιχθεί, σε εμφάνιση, αεροδυναμική, ταχύτητα, ισχύ και αποτελεσματικότητα, ενώ η τελευταία μεγάλη αλλαγή τους ήταν η προσθήκη αισθητήρων βροχής που τους χαρίζει αυτόματη λειτουργία.
Παρά τις αλλαγές όμως η λειτουργία τους παραμένει ίδια, με τις εταιρείες κατά καιρούς να έχουν προσπαθήσει να διαφοροποιηθούν. Όπως η Mercedes που για αρκετό καιρό είχε έναν υαλοκαθαριστήρα, αντί για δύο. Επιλογή όμως που κόστιζε τόσο στην ίδια, καθώς οι προμηθευτές χρέωναν παραπάνω για την… διαφορετικότητα αυτή, όσο και για τους ιδιοκτήτες αυτοκινήτων που δυσκολεύονταν να βρούνε ανταλλακτικά στην ελεύθερη αγορά, γεγονός που ανέβαζε το κόστος.
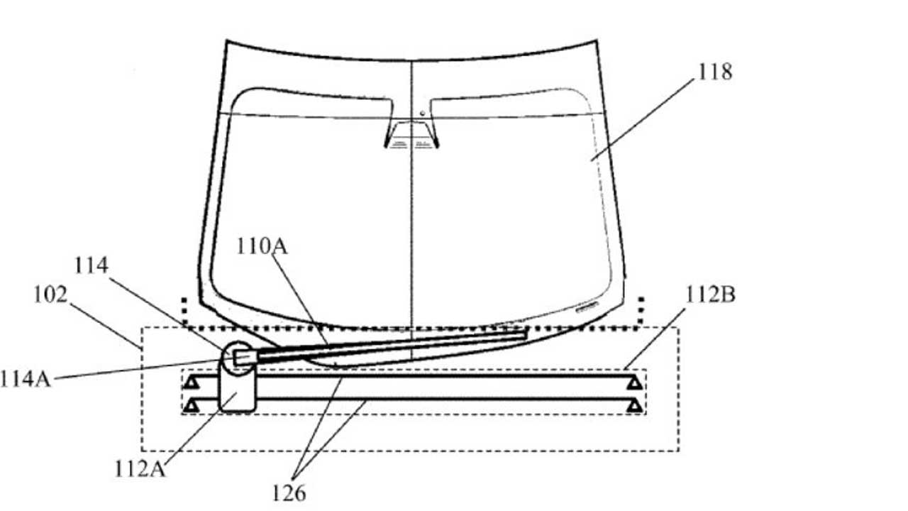
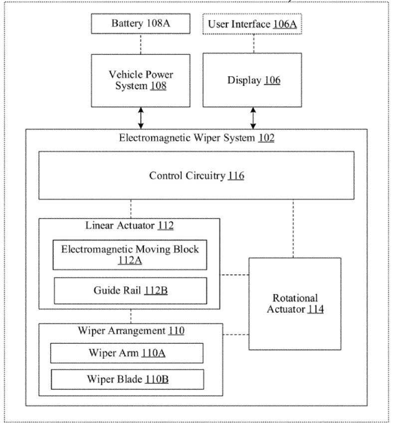
Πλέον όμως φαίνεται πως ήρθε η ώρα να δούμε τη μεγάλη αλλαγή στους υαλοκαθαριστήρες, μετά από 116 ολόκληρα χρόνια! Και αυτή η αλλαγή έρχεται από την Tesla, η οποία πριν από λίγο καιρό κατέθεσε σχέδια για την κατοχύρωση πατέντας για ένα νέο είδος υαλοκαθαριστήρα με ηλεκτρομαγνητικό μηχανισμό.
Ο στόχος του νέου υαλοκαθαριστήρα είναι να βρει μια καλύτερη ισορροπία μεταξύ της θέσης του όταν δεν χρησιμοποιείται (να κρύβεται δηλαδή) και να παραμένει αποτελεσματικός όταν χρησιμοποιείται. Σύμφωνα με την περιγραφή της Tesla πάντοτε, ο τρόπος λειτουργίας του υαλοκαθαριστήρα θα είναι πολύ πιο αποδοτικός ενεργειακά, συγκρινόμενος με τα σημερινά συστήματα. Επίσης, θα κρύβεται κάτω από το εμπρός καπό όταν δεν χρησιμοποιείται, ενώ όταν χρησιμοποιείται θα κινείται από την μία πλευρά του παρμπρίζ στην άλλη και όχι ημικυκλικά.
Προφανώς αντιλαμβανόμαστε πως στη νέα, ηλεκτρική εποχή της αυτοκίνησης, όλα τα συστήματα πρέπει να καταναλώνουν το ελάχιστο ρεύμα και προς τα εκεί στοχεύει και ο ηλεκτρομαγνητικός υαλοκαθαριστήρας της Tesla. Μάλιστα, όπως φαίνεται και στο σχέδιο θα καλύπτει σχεδόν όλο το εμπρός παρμπρίζ, όπερ σημαίνει πως θα καθαρίζει πιο αποτελεσματικά την γυάλινη επιφάνεια. Στοιχείο σημαντικό για τα μελλοντικά αυτοκίνητα που θα είναι γεμάτα ραντάρ, αισθητήρες και κάμερες και θα πρέπει να έχουν την βέλτιστη ορατότητα.


