Η όπισθεν στις μοτοσυκλέτες δεν είναι κάτι άγνωστο, τόσο σε εκείνες που φέρουν κινητήρα εσωτερικής καύσης όσο βέβαια και στις ηλεκτρικές, όπου είναι σαφώς πιο εύκολο για να εφαρμοστεί κάτι τέτοιο. Στις μοτοσυκλέτες με θερμικό μοτέρ, τα μοντέλα που φέρουν συνήθως όπισθεν -μέσω λειτουργίας της μίζας τους- ανήκουν στην βαριά κατηγορία των μεγάλων Tourer και κάνουν έτσι η ζωή των αναβατών τους σημαντικά πιο εύκολη. Ωστόσο πατέντες που φέρεται να έχει καταθέσει η Michelin προς κατοχύρωση δείχνουν έναν νέο τύπο ηλεκτρικής όπισθεν, ο οποίος θα μπορεί να τοποθετηθεί αυτοβούλως σε πολλούς και διαφορετικούς τύπους μοτοσυκλετών.
Διαβάστε επίσης: Η BMW R 18 “Spirit of Passion” δεν είναι μία ακόμη custom
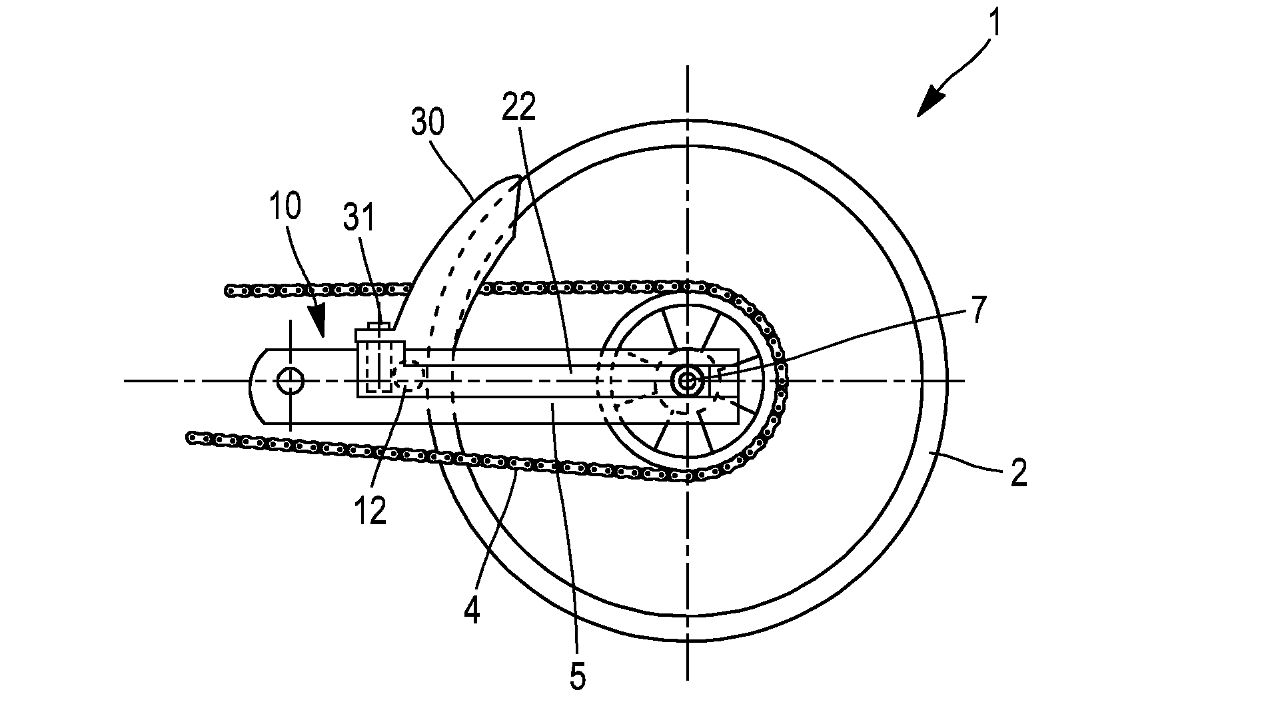
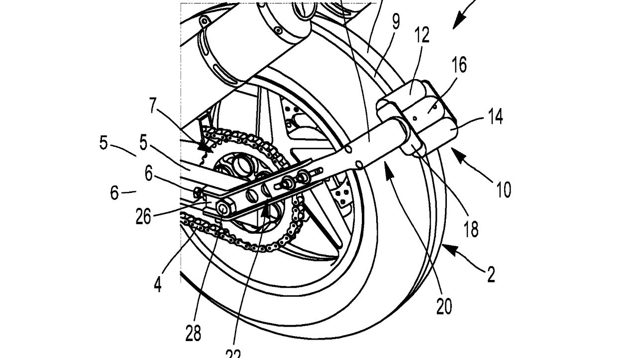
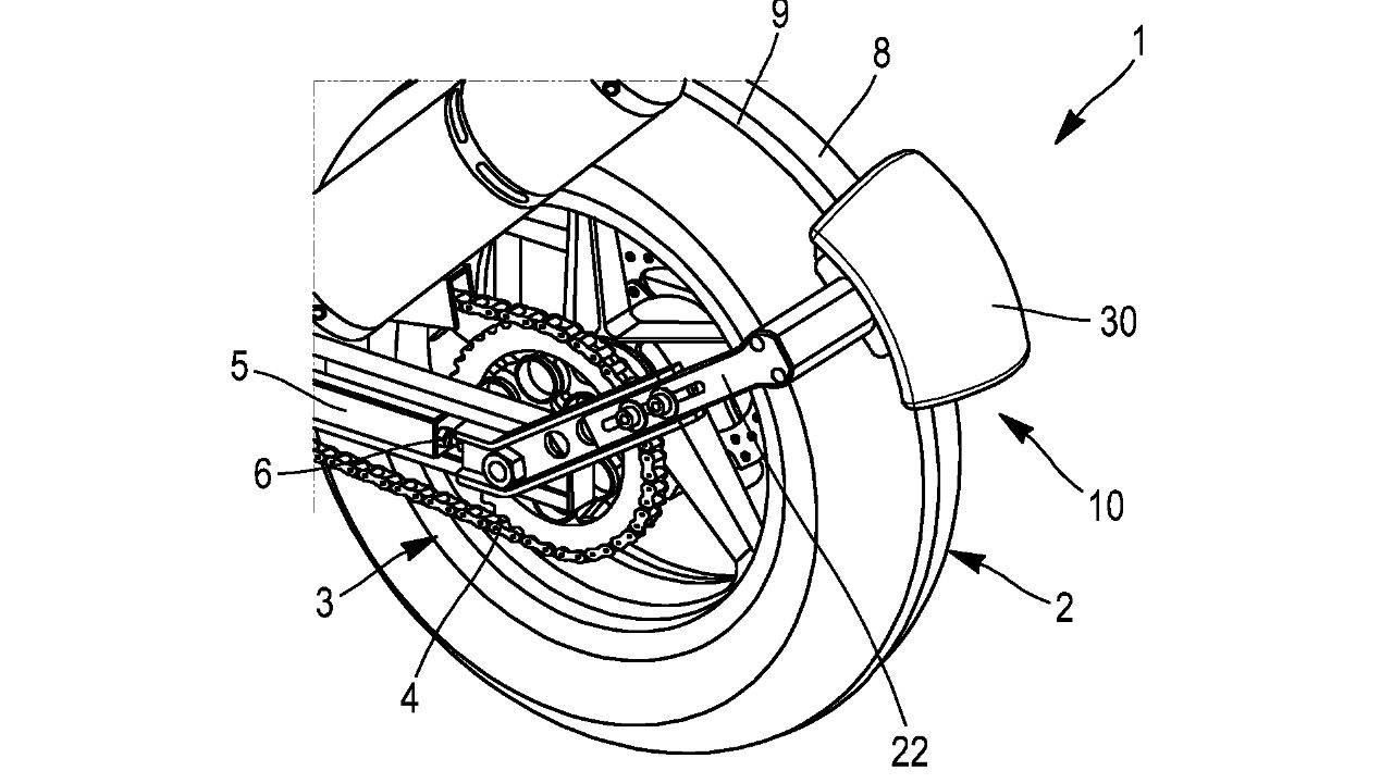
Ουσιαστικά πρόκειται για έναν “λασπωτήρα” που τοποθετείται στον πίσω τροχό και εδράζει επάνω στο ψαλίδι. Κάτω από τον λασπωτήρα υπάρχει ένα μικρό ηλεκτρικό μοτέρ που πλαισιώνεται από κυλίνδρους, τοποθετημένο επάνω σε βάσεις οι οποίες τους επιτρέπουν να έρχονται σε επαφή με το ελαστικό. Χάρη στις ρυθμιζόμενες βάσεις του λασπωτήρα, το ηλεκτρικό μοτέρ μπορεί να ρυθμιστεί στη σωστή απόσταση για τη λειτουργία του ανεξάρτητα από τις διαστάσεις του πίσω τροχού.
Διαβάστε επίσης: Δοκιμή ανανεωμένο Suzuki V-Strom 1050 XT
Από ό,τι καταλαβαίνουμε οι μπαταρίες που φέρει το σύστημα είναι ανεξάρτητες από την κύρια μπαταρία της μοτοσυκλέτας και μπορούν να επαναφορτιστούν κατά την κανονική της κίνηση, ενώ υπάρχει και εναλλακτικό σχέδιο τοποθέτησης με το ηλεκτρικό μοτέρ να βρίσκεται πάλι να εδράζεται στο ψαλίδι αλλά στο εμπρός μέρος του τροχού. Καθόλου άσχημη ιδέα από τη Michelin που δείχνει να έχει και δυναμική για να μπει στην ευρεία παραγωγή.



