Laser αντί… υαλοκαθαριστήρων “βλέπει” η Tesla

Τεχνολογία laser που θα πάρει τη θέση των παραδοσιακών υαλοκαθαριστήρων φαίνεται να εξετάζει η Tesla σύμφωνα με πατέντες.
BYD

Ποιος χρειάζεται υαλοκαθαριστήρες όταν έχεις… laser; Κάπως έτσι φαίνεται να σκέφτεται η Tesla, η οποία θέλει να χρησιμοποιήσει μια hi-tech εφαρμογή για να αντικαταστήσει ένα από τα πιο παραδοσιακά εξαρτήματα του αυτοκινήτου.

Διαβάστε επίσης: Το Tesla Model S Plaid είναι πλέον το ταχύτερο ηλεκτρικό στο Nurburgring (+video)

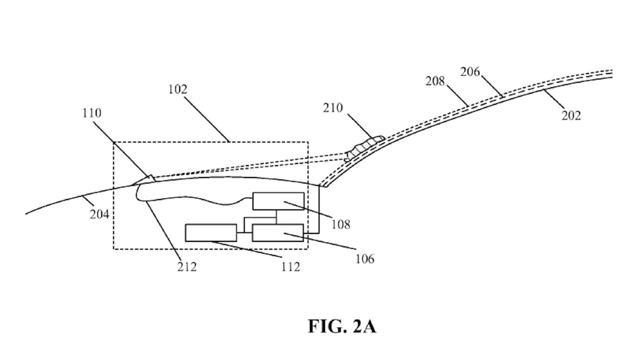
Σύμφωνα με πληροφορίες που κάνουν το γύρο του Διαδικτύου, η αμερικάνικη εταιρία κατέθεσε μια σχετική πατέντα πριν από περίπου δύο χρόνια. Σε αυτή την πατέντα περιγράφεται ένας μηχανισμός laser, ο οποίος συνδυάζεται με έναν ανιχνευτή βρωμιάς και μια κεντρική μονάδα ελέγχου που τα ελέγχει και τα συντονίζει. Αυτό που κάνει ακόμη μεγαλύτερη εντύπωση στη συγκεκριμένη πατέντα είναι ότι προορίζεται και για τον καθαρισμό φωτοβολταϊκών και γενικότερα γυάλινων επιφανειών.

Από ό,τι φαίνεται η συσκευή που περιγράφεται στη πατέντα που φέρει την υπογραφή του υπαλλήλου της Tesla, Phiroze Dalal, μπορεί επίσης να χρησιμοποιηθεί για να κρατά καθαρές τις κάμερες του συστήματος αυτοματοποιημένης οδήγησης των μοντέλων της Tesla, σημεία όπου δεν μπορούν να φτάσουν εύκολα οι παραδοσιακοί υαλοκαθαριστήρες, χωρίς παράλληλα να απαιτείται η χρήση και πλυστικού συστήματος για καλύτερα αποτελέσματα.

Διαβάστε επίσης – Stellantis: Επίτευξη εκπομπών CO2 και χωρίς… Tesla

Δύο χρόνια μετά, η πατέντα της Tesla έλαβε σχετική έγκριση από την αρμόδια υπηρεσία των Η.Π.Α. Αν αυτή δεν είναι μια ακόμη από τις πατέντες που καταχωρούν κατά δεκάδες οι κατασκευαστές, για να μην προλάβει κάποιος από τους ανταγωνιστές τους να κάνει το ίδιο, τότε περιμένουμε με μεγάλη περιέργεια για την πρώτη της εφαρμογή από την αμερικάνικη εταιρία, να δούμε πώς θα την αξιοποιήσει.

ΕΤΙΚΕΤΕΣ

ΜΟΙΡΑΣΤΕΙΤΕ ΤΟ

ΔΙΑΒΑΣΤΕ ΕΠΙΣΗΣ

Η νέα τεχνολογία BMW M Ignite εισάγει για πρώτη φορά στην παραγωγή σύστημα ανάφλεξης σε προθάλαμο! Δείτε τον τρόπο λειτουργίας......
Η εντυπωσιακή πρότυπη "πόλη" της Toyota ενσωματώνει ολοένα και περισσότερο την τεχνητή νοημοσύνη στα συστήματά της προς όφελος των κατοίκων της....
Το μοναδικό εγκεκριμένο σύστημα αυτοματοποιημένης οδήγησης στην Ευρώπη της αμερικάνικης εταιρείας καλύπτει το 95% των ελληνικών αυτοκινητοδρόμων....
Η γερμανική εταιρεία λανσάρει στη Γερμανία τη δυνατότητα επιστροφής ηλεκτρικού ρεύματος από το αυτοκίνητο στο σπίτι με οικονομικό όφελος για τον οδηγό....
Τρεις κορυφαίοι κατασκευαστές από Ιαπωνία και Ευρώπη υπέγραψαν συμφωνία για συνεργασία στην ανάπτυξη κυψελών καυσίμου για βαρέα οχήματα....
Η κινέζικη εταιρεία ανακοίνωσε τη λειτουργία του νέου Κέντρου Μηχανικής στην καρδιά της Ευρώπης αλλά και νέες τεχνολογίες σε μπαταρίες και υβριδικά συστήματα....

ΠΡΟΣΦΑΤΑ ΘΕΜΑΤΑ

Mercedes-Benz A-Class 2025

Mercedes-Benz A-Class: Το όνειρο… γίνεται πραγματικότητα!

Toyota C-HR

Το ιαπωνικό που δεν έχει αντίπαλο στα C-SUV φέτος – Από 28.300 ευρώ στην Ελλάδα

VW Tayron

Δοκιμάζουμε το 7θέσιο SUV της Volkswagen – Έως και 10 χρόνια εγγύηση