Το πλάνο της Toyota να μεταμορφωθεί από έναν κατασκευαστή οχημάτων σε μια εταιρία παροχής υπηρεσιών κινητικότητας φαίνεται να βρίσκεται σε πλήρη εξέλιξη. Τελευταία κίνηση που δείχνει να συνηγορεί σε αυτό είναι οι πατέντες των Ιαπώνων που δημοσιεύτηκαν. Σε αυτές τις πατέντες βλέπουμε να παρουσιάζεται ένα αυτόνομο όχημα ανεφοδιασμού που θα μπορεί να εξυπηρετεί όλα τα οχήματα στο μέλλον ανεξάρτητα από τον τύπο καυσίμου που χρησιμοποιούν.
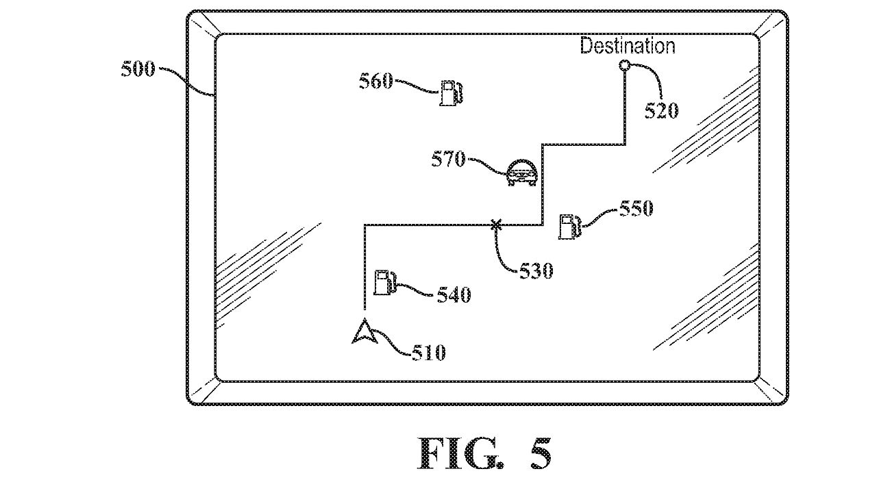
Σύμφωνα και με τα όσα διαβάσαμε για τις συγκεκριμένες πατέντες ο εκάστοτε ενδιαφερόμενος θα μπορεί να “καλεί” τα αυτόνομα οχήματα της Toyota, τα οποία και θα τον “επισκέπτονται” στην τοποθεσία ενδιαφέροντος, αφού πρώτα τον έχουν ενημερώσει για τις τιμές του καύσιμου που τον ενδιαφέρει. Με την κλήση του για ανεφοδιασμό, στο αυτόνομο όχημα μεταφέρονται επίσης δεδομένα και στοιχεία για το όχημα που θα εξυπηρετήσει.
Διαβάστε επίσης: Το Toyota GR Yaris ξεσηκώνει και με το πλάι (+mega gallery)
Το όχημα θα μπορεί να λειτουργεί αυτόνομα ή ακόμη και να ελέγχεται απομακρυσμένα από κάποιον χειριστή και θα μπορεί να διαμορφωθεί με τέτοιο τρόπο ώστε να μεταφέρει κάθε τύπο καυσίμου εντός και εκτός εισαγωγικών (βενζίνη, πετρέλαιο, υδρογόνο, ρεύμα), ενώ θα συνδέεται αυτοματοποιημένα με το όχημα που θέλει να εφοδιάσει χωρίς την ανθρώπινη παρέμβαση. Αυτό που δεν ξεκαθαρίζεται στις πατέντες είναι αν ο ανεφοδιασμός θα πραγματοποιείται μόνο στατικά ή και εν κινήσει, με το δεύτερο σενάριο, εν έτει 2020, να μην ανήκει μόνο στη σφαίρα της φαντασίας.
Έπειτα από τον ανεφοδιασμό το όχημα θα αποσυνδέεται αυτόματα και εφόσον του περισσεύει καύσιμο ή ρεύμα θα τίθεται πάλι στην υπηρεσία του δικτύου “ανακοινώνοντας” σε άλλα οχήματα που βρίσκονται γύρω του τη διαθεσιμότητα του, τον τύπο καυσίμου αλλά και την τιμή για το καύσιμο που μεταφέρει.
Το όχημα της Toyota θα μπορεί να επικοινωνεί με τα υπόλοιπα οχήματα αλλά και το κέντρο ελέγχου αξιοποιώντας υπάρχουσες τεχνολογίες, κάποιες από τις οποίες θα χρησιμοποιεί και για τη σύνδεση-αποσύνδεση με το εκάστοτε όχημα (αισθητήρες απόστασης, GPS, κάμερες κτλ.).
Διαβάστε επίσης: Δοκιμή Toyota Yaris 1.5 λτ. 125 PS
Στις πατέντες η Toyota αναφέρει πως το όχημα της θα μπορεί να έχει περισσότερους από δύο άξονες, ενώ το σχήμα και το μέγεθος του θα είναι ανάλογα του τύπου καυσίμου που μεταφέρει αλλά και των απαιτήσεων των οχημάτων που ενδέχεται να εξυπηρετήσει (αυτοκίνητα, φορτηγά κτλ.). Θα μπορεί επίσης να… αυτοεφοδιάζεται με καύσιμο, στην περίπτωση που αυτό χρειαστεί, από τα δικά του αποθέματα και χωρίς να χρειαστεί να επιστρέψει στη βάση του.
Τα σχέδια της Toyota προς κατοχύρωση δεν είναι νέα. Η κατάθεση τους πραγματοποιήθηκε πριν από τέσσερα χρόνια από την Toyota Β. Αμερικής, ενώ η δημοσίευση τους έγινε μόλις τον περασμένο Οκτώβριο (2020). Δεν αποκλείεται λοιπόν το αυτόνομο όχημα ανεφοδιασμού των Ιαπώνων να βρίσκεται ήδη σε προχωρημένο στάδιο εξέλιξης, ενώ μεγάλη είναι και η πιθανότητα η Toyota να προχώρησε τότε στην κατάθεση των πατεντών με στόχο να τις αξιοποιήσει κάποια στιγμή στο μέλλον.
Τέλος, κάτι που θα κινήσει σίγουρα και τη δική σας περιέργεια είναι η χρήση από την Toyota στα σχεδιαγράμματα ενός παλιότερου… Honda Civic ως του μοντέλου που ανεφοδιάζεται. Με δεδομένο ότι οι πατέντες κατατέθηκαν πριν από τέσσερα χρόνια ίσως οι δύο κολοσσοί να συζητούσαν από τότε για κάποιας μορφής συνεργασία σε αυτό τον τομέα πάνω στα αυτόνομα οχήματα. Σήμερα πάντως τις βλέπουμε να συνεργάζονται για να αντιμετωπίσουν μαζί τις φυσικές καταστροφές με τη δημιουργία ενός λεωφορείου-σταθμού ενέργειας.




