Μία ενδιαφέρουσα πατέντα κατέθεσε η Volvo δίνοντας τη δυνατότητα στον οδηγό να μεταφέρει το τιμόνι από τη μία πλευρά του οχήματος ως την άλλη. Ας τη δούμε αναλυτικότερα μέσα από τις φωτογραφίες.
Διαβάστε επίσης: Γιατί η Volvo βάζει “κόφτη” σε όλα τα νέα μοντέλα της
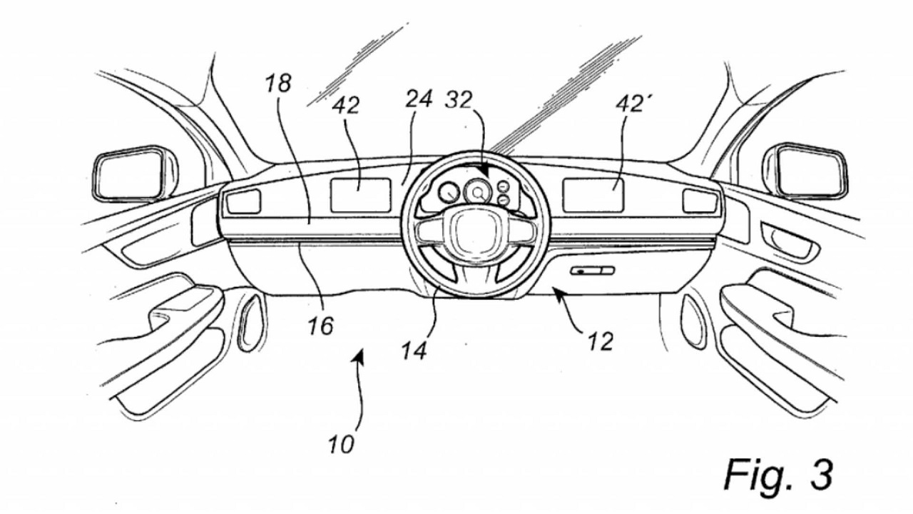
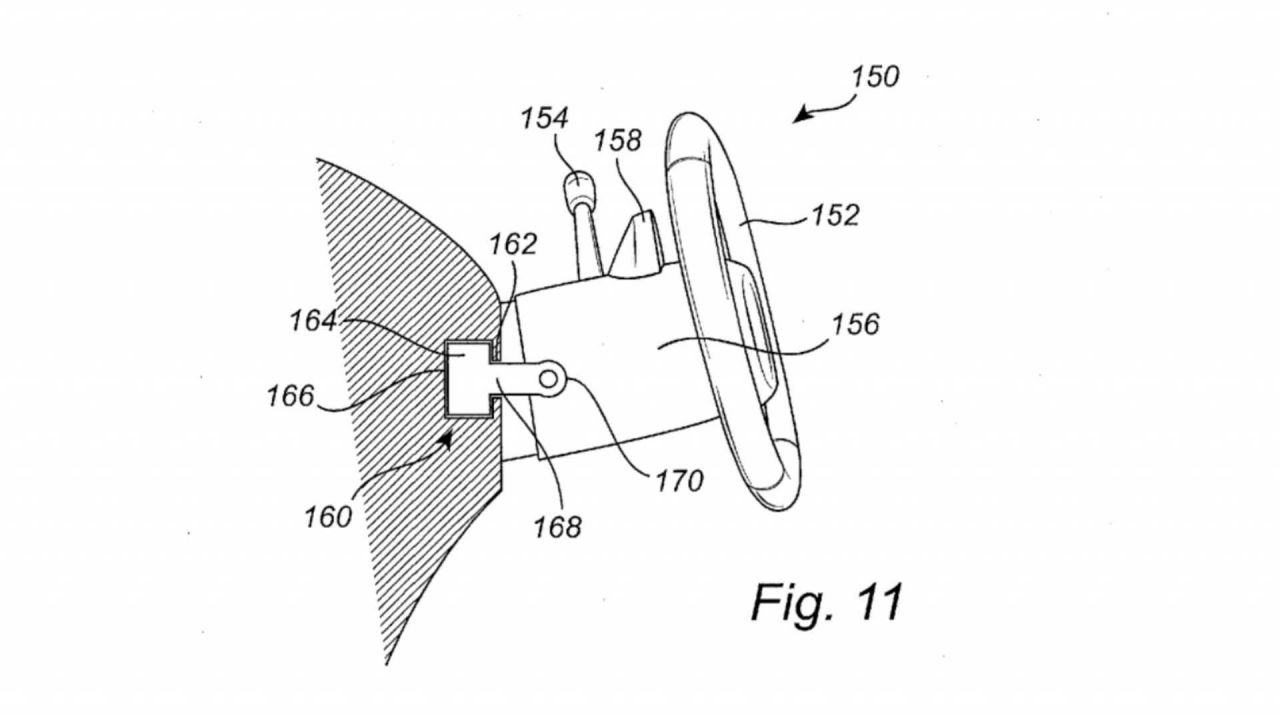
Πρόκειται για μία διάταξη που αποτελείται από έναν συρόμενο διάδρομο και το ειδικά διαμορφωμένο τιμόνι. Μέσα σε αυτόν, το σύστημα διεύθυνσης θα μπορεί να μετατοπίζεται, μετατρέπονται το όχημα από δεξιοτίμονο σε αριστεροτίμονο και το αντίθετο. Τα πρώτα σχέδια δείχνουν δύο πίνακες οργάνων, έναν στην κάθε πλευρά.
Η Volvo μαζί με την αίτηση διπλώματος ευρεσιτεχνίας δεν έχει καταθέσει περισσότερες λεπτομέρειες. Το πιθανότερο σενάριο είναι να δούμε τη συγκεκριμένη διάταξη σε κάποιο επαγγελματικό όχημα, ώστε να είναι εξίσου ασφαλής η οδήγησή του ανεξάρτητα από το δίκτυο της εκάστοτε χώρας.
Μπορεί να μη γνωρίζουμε αν η Volvo θα περάσει στην παραγωγή την εν λόγω πατέντα, αλλά αξίζει να αναφέρουμε πως υπάρχει ήδη παρόμοια ιδέα. Θα τη συναντήσει κανείς στο Unimog της Mercedes. Ακολουθεί ένα video που δείχνει τη μετατροπή από δεξιοτίμονο σε αριστεροτίμονο μέσα σε ελάχιστα δευτερόλεπτα.

